
炒股就看金麒麟分析师研报,权威,专业,及时,全面,助您挖掘潜力主题机会!
来源:民航观察
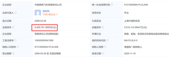
据民航观察观察,2025年11月,中国商用飞机有限责任公司迎来里程碑式发展——工商信息显示,其注册资本由501.01亿元增至940.98亿元,增加约440亿。
此次440亿元的巨额增资由国家队集体发力,彰显了国家对国产大飞机产业的坚定支持。
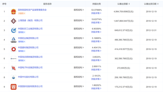
作为国产大飞机的核心研制主体,中国商飞成立于2008年3月,初始注册资本190亿元。此次增资中,除中国中化股份有限公司未参与外,其余8家股东均进行了不同程度注资。
其中,国务院国资委出资力度最大,增资金额达249.97亿元,增资后持股比例从49.8%提升至53.08%,进一步巩固了其控股地位;上海国盛(集团)有限公司、中国铝业集团有限公司等股东也纷纷跟进,通过货币出资方式加码支持,形成了国资合力护航的强劲格局。
此次增资的背后,是中国商飞日益成熟的产品矩阵与市场拓展成果。
目前,公司核心产品涵盖C909、C919、C929三款不同定位的飞机:
C909作为支线客机,已交付170余架,开通790余条航线,不仅覆盖国内市场,更成功进入东南亚地区,吸引印尼、老挝、越南等国航司投入运营,更有多家潜在外航买家;
C919作为干线客机,运营两年间已交付26架,开通30余条航线,覆盖17座城市,成为衡量二线城市航空枢纽实力的新标杆;
宽体客机C929则正稳步推进研制,其12000公里的航程和280座的基本型设计,将填补国产宽体机市场空白。
巨额资金的注入,将为中国商飞的产能扩张与技术攻坚提供关键支撑。
根据此前披露的产能规划,C919的年产能目标已从原计划的50架提升至2025年75架,后续将逐步攀升至2029年的200架/年,规模化生产需要强大的资金保障。
同时,面对全球供应链恢复缓慢、发动机交付等瓶颈问题,以及地缘政治冲突带来的不确定性,增资将助力中国商飞强化供应链韧性,加快替代性解决方案研发,推进CJ1000A、CJ2000等国产航空发动机的配套进程,实现核心技术自主可控。
从行业意义来看,此次增资不仅是对中国商飞过往发展的认可,更是中国航空制造业迈向高质量发展的重要信号。作为民航业的“大国重器”,国产大飞机的崛起不仅能打破空客、波音的双寡头垄断格局,更能带动航空材料、发动机、电子设备等上下游产业链的协同发展。随着资金的到位与产能的释放,中国商飞将在全球航空市场竞争中占据更重要的位置,为“中国制造2025”注入强劲动力。
新浪声明:此消息系转载自新浪合作媒体,新浪网登载此文出于传递更多信息之目的,并不意味着赞同其观点或证实其描述。文章内容仅供参考,不构成投资建议。投资者据此操作,风险自担。
海量资讯、精准解读,尽在新浪财经APP
责任编辑:杨红卜
好的股票配资平台提示:文章来自网络,不代表本站观点。